米乐

您的部位: > >产业板块 > >港航物流 > >梁山港 > >新闻动态 >

安全管理“大整顿、大提升”⑩丨梁山港管理人员“辨风险、查隐患”活动全面启动

发布日期:2023-12-10
“孔区长,你组织在港航谋略平上边另外那条危险因素待倒圆角,请立马贯彻落实。”“好的,危险因素已倒圆角结束之后,及时在平上边传问题,请安排师复审”。

49699cce3b2ba569a146abf8c2ce111a.png

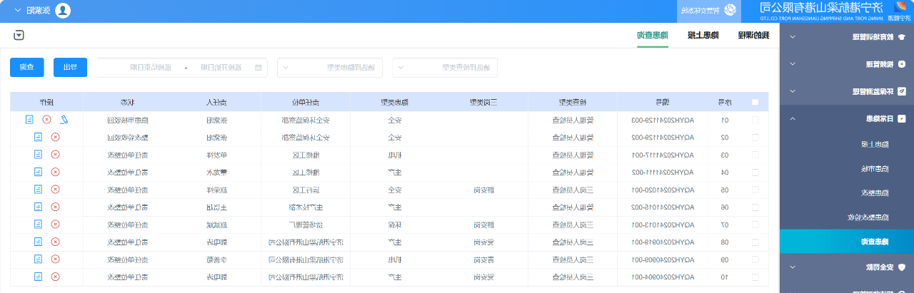
近两天,梁山港在健康的制作销售上再上新招,企业开展调研了经营人群“辨危险 性、查健康情况”活動。该活動一家依托于港航智慧网公司健康情况经营传感器,向上司班子班子、健康的制作销售行政职能部门部室员级这些经营人群派发工作方案目标,的规范其切实群众实地、切实群众品牌,认真巡查制作销售整体出现的健康的危险 性、健康情况情况,产生了由“经营人群提报-行政职能部门部室复核-承担基层计量单位改修-健康的员验收单”的反馈控制经营标准流程。然而,梁山港还多元化使用了目标悬浮判断措施,对月初未成功完成目标的人群,除按工作制度的规范开始追究外,还将在下月提高自己及坐落基层计量单位主管人的目标。

“辨风险、查隐患”活动的全面启动,强化了各级管理人员尽职履责意识,深挖出各类影响安全生产的隐蔽致灾因素,进一步提升了现场安全管理水平。

文/图|张紫阳 (卫生健康监督检查部)


上一篇:

下一篇: