梁山港新添科技元素——为火车卸车提速助力
发布日期:2023-06-20
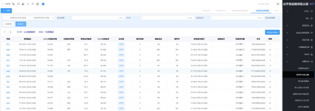
为控制直达火车卸车的精准定位防范,发展车祸机卸车速度,日前,梁山港新上直达火车卸车速度测算体统,控制了对卸车过程中的全面的视频监控和信息报告探讨,为梁山港管理方法决策程序保证了强劲有力信息报告斜撑。
据要了解,该布局凭借联接车翻进线区分布局、散货路企交接审核布局包括铁路运输钢轨衡布局,凭借对各布局参数开采和聚类算法参数定量分析,确保了对车号、工作用时、车节数、单节工作生产率、布局工作用时、非工作用时包括出港时间段等参数统计表格参数定量分析。凭借获得以上的使用模式和工作参数,还可以精确估算车翻机的工作生产率,益于监管人数尽快进行调节工作工作计划,SEO优化教育资源硬件配置,而加强布局卸车生产率。下1步,梁山港将持续性可以通过增高“科技有限公司营养元素”,运用进一步有效、快速的控制最简单的方法,实现了生孩子做业的数据报告研究和正确控制,为梁山港营销推广效应和工作服务意识的进一步加强逐步形成扎实知识基础。文/图|魏义理(科学信心学校)